As some electronic components of PCB may be damaged by the charged static electricity from the resin part of dryer or a human body, please remove the potential difference of electricity of the human body and dryer by touching the power cord before you work with PCB.
Be careful that an electric shock may occur by touching the PCB because strong (AC 230V, 240V) and weak (AC12V, 5V) electricity are applied to the PCB.
Do not replace the PCB assembly based on wrong diagnosis. The PCB itself is designed with high reliability. If you decide that the PCB should be replaced, then please follow the procedure of trouble diagnosis.
General Error Function
When an error occurs, this function starts to keep generating error buzzer sound and displays error indicators as shown in the followings per corresponding error by blinking in 0.5sec intervals until the error status is completely cleared out. In this case, all the driving devices are turned off until the error is cleared out.
THERMISTOR ERROR.
1-1. Display shows 'E5'
In case the Thermistor or Thermistor Circuit short.
The temperature of thermistor is more than 65℃ for more than 5 sec.
1-2. Display shows 'E1'
In case the Thermistor or Thermistor Circuit Open.
1-1. Display shows 'E5'
In case the Thermistor or Thermistor Circuit short.
The temperature of thermistor is more than 65℃ for more than 5 sec.
1-2. Display shows 'E1'
In case the Thermistor or Thermistor Circuit Open.
MOTOR ERROR
Display shows 'E3'
In case the Motor or Motor Circuit Open.
Display shows 'E3'
In case the Motor or Motor Circuit Open.
HEATING ERROR
Display show 'EH'
This Error message occurs only ' HEATING TEST MODE '.
The temperature of thermistor rises less than 2℃ for 1 minute.
Display show 'EH'
This Error message occurs only ' HEATING TEST MODE '.
The temperature of thermistor rises less than 2℃ for 1 minute.
Test Mode
Driving Compartment Test Mode.
1-1.Press ① and ④ buttons simultaneously
1-2.Display shows 'tA' after whole lamps turn on for 3 seconds
1-3.Press ③ button
1-4.Motor ON (1sec) → Off (1sec) → Heater On (1sec) → Off (1sec) → Continue
1-1.Press ① and ④ buttons simultaneously
1-2.Display shows 'tA' after whole lamps turn on for 3 seconds
1-3.Press ③ button
1-4.Motor ON (1sec) → Off (1sec) → Heater On (1sec) → Off (1sec) → Continue
Heating Test Mode.
1-1.Press ② and ④ buttons simultaneously
1-2.Display shows 't5'
1-3.Check the Motor pulse, Heating temperature.
1-4.EH: Heating Error, E3: Motor Error.
1-1.Press ② and ④ buttons simultaneously
1-2.Display shows 't5'
1-3.Check the Motor pulse, Heating temperature.
1-4.EH: Heating Error, E3: Motor Error.
Schematic diagram and PWB control
Main Components
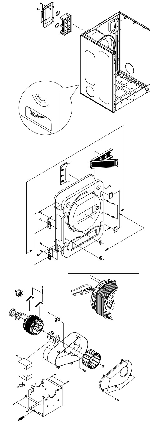
Disassembly
ASSY-COVER TOP
1) Remove 2 screws fixing the top-cover on back side.
2) Push the top-cover back about 15mm and pull it up.
3) It's possible to exchange and service Panel(PCB), Thermostats and Door-Switch.
1) Remove 2 screws fixing the top-cover on back side.
2) Push the top-cover back about 15mm and pull it up.
3) It's possible to exchange and service Panel(PCB), Thermostats and Door-Switch.
Back Cover.
1) Remove three screws fixing the Cover to Frame.
2) It's possible to exchange and service Condenser, Thermistor and release the belt from the motor.
1) Remove three screws fixing the Cover to Frame.
2) It's possible to exchange and service Condenser, Thermistor and release the belt from the motor.
Assy-Door.
1) Remove 4 screws fixing two Hinge-doors.
1) Remove 4 screws fixing two Hinge-doors.
Front Frame.
1) Remove the top-cover.(Step1.)
2) Remove the screw fixing the Panel-Drawer on inside.
3) Remove the Cover-Drawer by using the dryer.
4) Remove the screw fixing the Control-Panel on front side and the screw on right side.
5) Remove the Cover-Front(L) by using the (-) driver.
6) Remove 2 screws fixing the Frame-Front and Duct-Front.
7) Remove 8 screws fixing the Frame-Front.
8) Disconnect the wire-housing from the Door-Switch.
1) Remove the top-cover.(Step1.)
2) Remove the screw fixing the Panel-Drawer on inside.
3) Remove the Cover-Drawer by using the dryer.
4) Remove the screw fixing the Control-Panel on front side and the screw on right side.
5) Remove the Cover-Front(L) by using the (-) driver.
6) Remove 2 screws fixing the Frame-Front and Duct-Front.
7) Remove 8 screws fixing the Frame-Front.
8) Disconnect the wire-housing from the Door-Switch.
Assy-Drum
1) Remove the 3 screws fixing Duct-Front.
2) Remove the 2 Special-screws and 4 screws fixing the Upper-Plate.
3) Remove the screw fixing the Cover-Bushing.
4) Remove the E-Ring using (-) driver.
5) Remove the Washer.
6) Remove the Belt.
7) Pull out the Assy-Drum.
1) Remove the 3 screws fixing Duct-Front.
2) Remove the 2 Special-screws and 4 screws fixing the Upper-Plate.
3) Remove the screw fixing the Cover-Bushing.
4) Remove the E-Ring using (-) driver.
5) Remove the Washer.
6) Remove the Belt.
7) Pull out the Assy-Drum.
Assy-Motor.
1) Remove the Spring on the Bracket-Idler.
2) Disconnect the wire-housing from the Motor, Condenser and Thermistor.
3) Lay down the dryer on back side.
4) Remove 2 of 4 screws and loose other 2 screws.
5) Push the Assy-Motor front about 10mm and pull it up.
1) Remove the Spring on the Bracket-Idler.
2) Disconnect the wire-housing from the Motor, Condenser and Thermistor.
3) Lay down the dryer on back side.
4) Remove 2 of 4 screws and loose other 2 screws.
5) Push the Assy-Motor front about 10mm and pull it up.
Heater
1) Disconnect the wire-housing from the Main Wire-Harness behind the Cover-back.
2) Remove 4 Holder-wires inside the Frame.
2) Remove 4 screws fixing the Cover-Heater.
3) Remove 2 nuts fixing the Cover-Heater and Heater.
4) Remove 2 washers.
1) Disconnect the wire-housing from the Main Wire-Harness behind the Cover-back.
2) Remove 4 Holder-wires inside the Frame.
2) Remove 4 screws fixing the Cover-Heater.
3) Remove 2 nuts fixing the Cover-Heater and Heater.
4) Remove 2 washers.
Assy-Door
1) Remove 4 screws fixing the Door-Front side.
2) Remove 2 Cover-Hinges.
3) Remove 4 screws fixing the Hinge-Doors.
4) Remove the 2 screws fixing the 2 Lever-Doors.
5) Remove the 2 Cover-Screws. (Reversing the Door: reassemble steps)
1) Exchange the place of Hinge-Doors and Cover hinges.
2) Exchange the place of Lever-Doors and Cover-Screws.
3) Rotate the Door-Front 180°
4) Reinstall 4 screws removed Step1.
1) Remove 4 screws fixing the Door-Front side.
2) Remove 2 Cover-Hinges.
3) Remove 4 screws fixing the Hinge-Doors.
4) Remove the 2 screws fixing the 2 Lever-Doors.
5) Remove the 2 Cover-Screws. (Reversing the Door: reassemble steps)
1) Exchange the place of Hinge-Doors and Cover hinges.
2) Exchange the place of Lever-Doors and Cover-Screws.
3) Rotate the Door-Front 180°
4) Reinstall 4 screws removed Step1.
Assy-Motor&Duct
1) Remove 5 screws fixing the Cover-duct fan.
2) Remove nut fixing the Fan. (When griping the Vice Plier, Avoid not to damage Pulley tooth)
3) Remove 3 screws fixing the Duct-fan.
4) Remove 2 screws fixing the Fixer-Motor and Pull out Assy-Motor
1) Remove 5 screws fixing the Cover-duct fan.
2) Remove nut fixing the Fan. (When griping the Vice Plier, Avoid not to damage Pulley tooth)
3) Remove 3 screws fixing the Duct-fan.
4) Remove 2 screws fixing the Fixer-Motor and Pull out Assy-Motor
Exploded view







No comments:
Post a Comment